Susisiekite su mumis : +370 671 92861
Kaina:
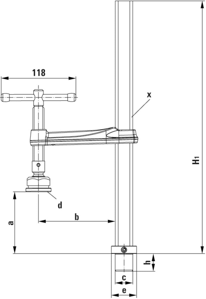
| Modelis | Varžto skersmuo (mm) | Atidarymas (mm) | Žiočių gylis (mm) | Bėgelis (mm) | Svoris (kg) |
|---|---|---|---|---|---|
| TWM28-30-12 | 28 | 300 | 120 | 28x11 | 1.78 |
Profesionalus suveržimo spaustuvas, sukurtas greitam ir patikimam ruošinių fiksavimui metalo apdirbimo, suvirinimo ar surinkimo metu. Dėl iki 6 500 N suveržimo jėgos ir tikslaus, individualaus prisitaikymo įrankis užtikrina stabilų laikymą be slydimo, didina darbo tikslumą ir greitina procesą.
Naudokite tik rankiniu būdu; įrankis netinka kelti, traukti ar transportuoti. Nemodifikuokite, naudokite tik originalias atsargines dalis – netinkamas naudojimas gali sukelti sužalojimus ar žalą. Reguliariai prižiūrėkite: nuvalykite bėgį tirpikliu ir laikykite jį be riebalų, alyvų, klijų, vaško ar silikoninių atskyriklių; sraigtą ir prispaudimo plokštelę periodiškai išvalykite ir lengvai suteikite alyva (svirties versijoje plokštelės netepkite); jei bėgis blizga – siaurąsias puses lengvai pašiauškite 100 granuliacijos švitriniu; svirties modeliuose reguliariai nuvalykite ir suteikite alyva fiksatoriaus šunelį.