Susisiekite su mumis : +370 671 92861
Kaina:
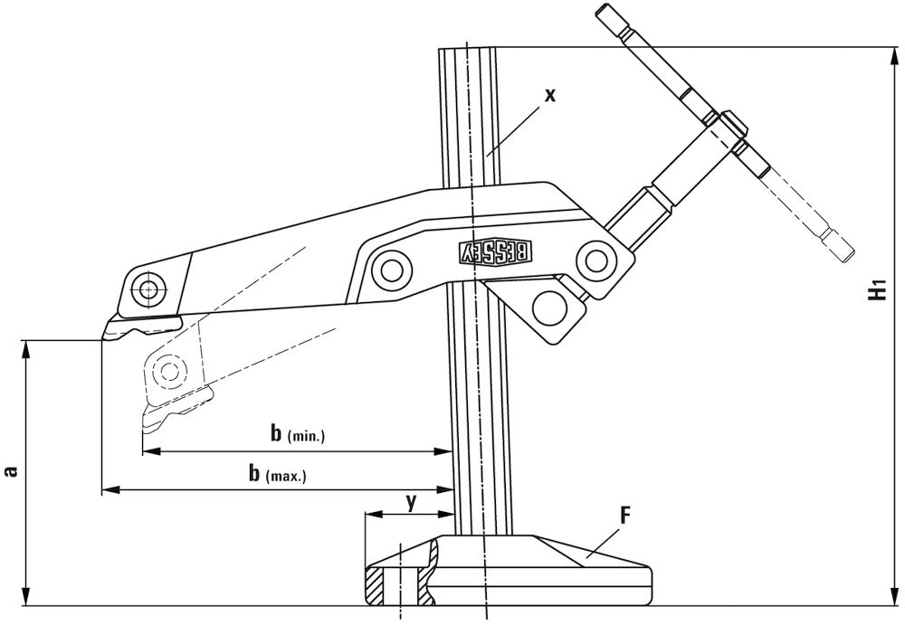
Modelis | Atidarymas (mm) | Žiočių gylis (mm) | Bėgelis (mm) | Skylės diametras (mm) | Svoris (kg) |
---|---|---|---|---|---|
GRS20-12 | 200 | 123–140 | 28x11 | 165 | 2.81 |
Profesionali F‑tipo sraigtinė spaustuvė, skirta patikimam ruošinių fiksavimui gręžimo ir lengvo frezavimo metu. Pasukamas, vertikaliai bepakopis prispaudimas ir išorėje esantis sraigtas neužstoja darbo zonos, todėl patogu dirbti net ankštose vietose. Didelė spaudimo jėga užtikrina saugų ir stabilų laikymą be slydimų.
Spaustuvė skirta tik spaudimui – nenaudokite kėlimui, traukimui ar transportavimui; veržkite tik ranka, be papildomų svertų. Nekeiskite ir nemodifikuokite įrankio, naudokite tik originalias atsargines dalis. Reguliariai prižiūrėkite: kreiptuvą valykite tirpikliu ir laikykite be riebalų, alyvos, džiovintų klijų, vaško ar silikono; sraigtą ir prispaudimo plokštelę periodiškai išvalykite ir lengvai sutepkite; jei kreiptuvo kraštai blizga, abu siauruosius šonus pašiauškite 100 grūdėtumo švitriniu popieriumi. Tinkama priežiūra būtina, kad slankiklis neslystų ir laikymas išliktų saugus.